DOSIFICADOR CON DISPOSITIVO DE ENRASADO DESPLAZABLE INCORPORADO:

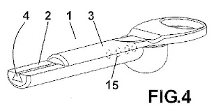
La empresa “TECNOLOGÍA EUROPEA APLICADA S.L.”, a través del inventor Francisco Mur Buil han desarrollado una invención que aporta la principal ventaja de facilitar la recogida de un producto en polvo o granulado y el enrasado de forma simultánea, y con una sola mano. Se puede ver muy descriptivamente en el siguiente esquema.

Breve análisis técnico: 
La solución técnica concreta aportada por el inventor se puede ver en el esquema obtenido de la propia solicitud de patente PCT. Para tener más detalles dirigirse al propio documento de la solicitud de patente.

Breve análisis jurídico: 
En el informe de búsqueda internacional que hace la oficina española de patentes y marcas, aparecen varios documentos que restan novedad o actividad inventiva a las reivindicaciones 1 y 3, pero el resto de reivindicaciones hasta la octava son susceptibles de ser patentadas. Para conocer los detalles de las reivindicaciones dirigirse al documento de la solicitud de patente.

Fecha de publicación PCT: 23 / 10 / 2008

Los comentarios están cerrados.

Inventos y Patentes: Búsqueda
Síguenos en Twitter! Síguenos en Facebook! Suscríbete al Feed RSS de Inventos
Inventos en directorios
BlogESfera Directorio de Blogs Hispanos - Agrega tu Blog
Busca patentes: