La empresa “
Softer Golf“, con sede en Alcobendas (Madrid), ha solicitado esta patente que trata sobre un zapato que es capaz de convertir su funcionalidad, al implantarle unos tacos u otros en la suela. Por cierto, para conocer
noticias de golf podéis verlas en esta web sobre Golf.
El invento viene a desarrollar un nuevo concepto de zapato con el que se pretende transformar de forma sencilla, un determinado tipo de zapato, como puede ser un zapato de “sport”, que por otro lado es el más afín, en zapato de golf. Es decir un zapato de golf para practicar éste deporte de la manera más eficaz y competente.
Breve análisis técnico:
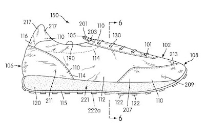
La solución técnica concreta aportada se puede ver en el esquema obtenido de la propia solicitud de patente PCT.

Tal y como se expresa en el documento: Este zapato tiene una suela de dibujo peculiar y que consta en una determinada disposición para montar y desmontar fácilmente un juego de tacos para uso habitual de paseo como calzado común de “sport” y otro juego de tacos, implantables, sin alteración de las características anteriores, como zapato deportivo de golf, cada juego de tacos, especialmente diseñados e implantados para estos respectivos fines.
Los medios de implantación consisten en un grupo de alveolos en las que van incorporados casquillos de cuerpo blando o elástico interiormente provistos de casquillos metálicos o sintéticos de roscado hembra para la sujeción, montable-desmontable de dichos tacos, en una distribución pentagonal en la parte de la pala y una disposición triangular en la parte del talón.
Breve análisis jurídico:
Lamentablemente, de momento no se ha publicado el informe de búsqueda internacional que dará pistas sobre la novedad y la actividad inventiva del zapato convertible. Aún así parece, por lo descrito en los antecedentes, en el propio documento de patente, que ya existe el intercambio de tacos para botas de fútbol, por lo que al menos, la primera reivindicación de esta patente, a mi entender, no tendrá actividad inventiva. Pero habrá que esperar…
Fecha de publicación PCT: 20 / 11 / 2008
Patentes relacionadas: