Inventos de música
CAJON FLAMENCO PLEGABLE
Para todos apasionados del flamenco, y sobretodo para aquellos que lo practican, hoy tenemos un invento para vosotros.
El cajón flamenco, es un instrumento de percusión utilizado en diversos estilos musicales, especialmente en música flamenca y folklórica andaluza, aunque su aceptación está extendida a diversos estilos musicales, principalmente étnicos y latinos.
Daniel Galiano Pérez, de Sevilla, ha registrado un modelo de utilidad en el que presenta su invento: un cajón flamenco plegable.
El cajón plegable surge de la necesidad del ...seguir leyendo este artículo sobre inventos, patentes y marcas »
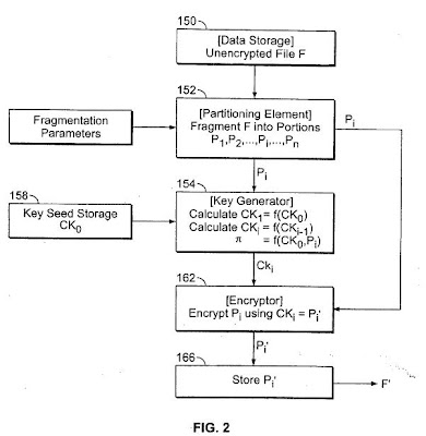
DISTRIBUCION SEGURA DE CONTENIDO USANDO CLAVES (MUSICA Y VIDEO):
Para conocer los detalles de las reivindicaciones dirigirse al documento de la solicitud de patente.
