DISPOSITIVO PARA EL CIERRE DE ENVASES

Desde Barcelona, el inventor Josep Cinca Escudé, a través de la empresa TESI INDUSTRIAL EUROPA, ha presentado la siguiente solicitud de patente. Se trata de un dispositivo para el cierre de envases, más concretamente para el cierre de envases constituidos por dos semicarcasas laminares articuladas por una línea o franja de doblez intermedia y comprendiendo cada semicarcasa una pestaña plana perimetral en la qué se encuentra defina al menos un encaje para el acoplamiento mutuo de dichas semicarcasas.

Breve análisis técnico: 

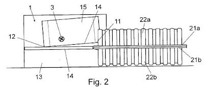
La solución técnica concreta aportada se puede ver en el esquema obtenido de la propia solicitud de patente PCT.

Tal y como se expresa en el documento: Son conocidos los envases constituidos por una o dos finas láminas de material plástico que definen dos semicarcasas laminares, las cuales pueden estar articuladas por una línea o franja de doblez intermedia que permite que dichas semicarcasas se puedan superponer en posiciones mutuamente enfrentadas conformando un receptáculo para el alojamiento de un producto.
Sin embargo, el dispositivo para el cierre de envases, objeto de la presente invención, presenta unas particularidades técnicas destinadas a facilitar el cierre de envases del tipo anteriormente citado, sin necesidad de grandes instalaciones. Este dispositivo comprende al menos una guía abierta, con dos superficies convergentes, para el paso de las pestañas enfrentadas de ambas semicarcasas, cuando se encuentran superpuestas y enfrentadas. Esta guía presenta una boca de entrada de garganta suficiente para la entrada holgada de las pestañas con los respectivos acoplamientos desencajados, y otra boca de salida de garganta angosta, para la salida de las pestañas con los acoplamientos ya encajados, al reducirse el ancho de dicha guía a medida que avanza el envase, por ejemplo al ser empujado manual o automáticamente.
Para tener más detalles dirigirse al propio documento de la solicitud de patente.

Breve análisis jurídico: 

En el informe de búsqueda internacional que hace la oficina española de patentes y marcas, no aparecen documentos que resten novedad o actividad inventiva al invento, por lo que puede considerarse de novedad mundial.

Para conocer los detalles de las reivindicaciones dirigirse al documento de la solicitud de patente.

Fecha de publicación PCT: 13 / 11 / 2008

Los comentarios están cerrados.

Inventos y Patentes: Búsqueda
Síguenos en Twitter! Síguenos en Facebook! Suscríbete al Feed RSS de Inventos
Inventos en directorios
BlogESfera Directorio de Blogs Hispanos - Agrega tu Blog
Busca patentes: