ORDENADOR PORTATIL CON DIFUSOR DE CALOR DE DIAMANTES

Actualmente, la solución al problema de la disipación de calor en la informática es clave para seguir avanzando con sistemas tecnológicos más sofisticados.

La empresa estadounidense APPLE, ha solicitado una patente PCT, sobre un invento nuevo que usa un diamante para disipar calor en sistemas de computación, como portátiles.


Breve análisis técnico:

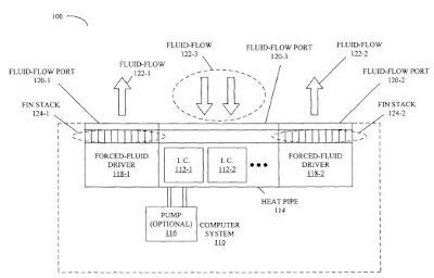
La solución técnica concreta aportada se puede ver en el esquema obtenido de la propia solicitud de patente PCT.


Inventos nuevos: APPLE disipador con diamante
Tal y como se expresa en el documento:

Este dispositivo incluye un circuito integrado y un disipador de calor junto a los circuitos integrados. Este disipador de calor incluye una primera capa de un alótropo de carbono.

Para tener más detalles dirigirse al propio documento de la solicitud de patente.

Breve análisis jurídico:

El informe de búsqueda internacional todavía no ha sido publicado por lo que no sabemos, de momento, si hay algún documento que reste novedad o actividad inventiva a las reivindicaciones del invento.

Para conocer los detalles de las reivindicaciones dirigirse al documento de la solicitud de patente.

Fecha de publicación PCT: 11 / 12 / 2008

Los comentarios están cerrados.

Inventos y Patentes: Búsqueda
Síguenos en Twitter! Síguenos en Facebook! Suscríbete al Feed RSS de Inventos
Inventos en directorios
BlogESfera Directorio de Blogs Hispanos - Agrega tu Blog
Busca patentes: