SOPORTE COMPACTO PARA ORDENADOR / PC

Se conoce la existencia de varios tipos de soportes de ordenadores de diferentes tamaños, formas y materiales, pero todos ellos como soporte de sobremesa que impiden la portabilidad de los equipos informáticos, por lo que en el caso de disponer de un ordenador con su correspondiente pantalla o monitor en el domicilio, el usuario se ve imposibilitado de poder trasladar de un lugar a otro ese conjunto del ordenador, imposibilitando con ello su utilización en cualquier otro lugar que no sea el domicilio donde está instalado.

La empresa sevillana (España), “APLEI S.A.“, ha solicitado una patente PCT para un soporte compacto para ordenador, constituyendo un elemento portátil o transportable en el que van debidamente montados y sujetos los componentes informáticos correspondientes a la CPU y pantalla TFT.

Breve análisis técnico:

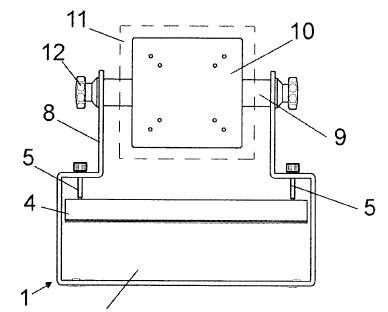
La solución técnica concreta aportada se puede ver en el esquema obtenido de la propia solicitud de patente PCT.

Tal y como se expresa en el documento:

Este invento hace factible la portabilidad del conjunto así como la fácil instalación y conexionado de los componentes. Se caracteriza porque se constituye a partir de una estructura metálica o de material similar, que define un alojamiento abierto tanto por la parte anterior como por la posterior, para la ubicación de la CPU, inmovilizándose ésta mediante una placa presionada con tornillos situada en el interior del comentado habitáculo para la CPU. Los laterales de dicha estructura continúan superiormente para situar un eje portador de una placa a la que se fija la correspondiente pantalla TFT, estableciendo así un conjunto portable para su utilización en cualquier lugar.

Para tener más detalles dirigirse al propio documento de la solicitud de patente.

Breve análisis jurídico:
En el informe de búsqueda internacional que hace la oficina española de patentes y marcas, no aparece ningún documento que reste novedad o actividad inventiva a las reivindicaciones de esta solicitud de patente. Por lo que puede considerarse dentro de los inventos nuevos, es decir, declarado como NOVEDAD MUNDIAL.

Para conocer los detalles de las reivindicaciones dirigirse al documento de la solicitud de patente.

Fecha de publicación PCT: 04 / 12 / 2008

Los comentarios están cerrados.

Inventos y Patentes: Búsqueda
Síguenos en Twitter! Síguenos en Facebook! Suscríbete al Feed RSS de Inventos
Inventos en directorios
BlogESfera Directorio de Blogs Hispanos - Agrega tu Blog
Busca patentes: