APARCAMIENTO AUTOMATIZADO PARA VEHICULOS

Conrad Carbonell López (Barcelona), es el inventor de este sistema de aparcamiento automatizado, cuyo solicitante es la empresa “ACK 90″, que comprende una planta superior con una zona de recogida y entrega de vehículos y varias plantas inferiores con una serie de plazas de aparcamiento dispuestas a los laterales de un pasillo o hueco central.
Actualmente son conocidos diversos aparcamientos automatizados para vehículos, que comprenden de forma generalizada diferentes niveles o plantas de almacenamiento y unas zonas de paso por las que circulan los dispositivos de transporte horizontal y/o vertical encargados de transportar los vehículos entre una zona de entrega y recogida de vehículos y las distintas plazas o zonas de aparcamiento.
Sin embargo, la invención a la que estamos haciendo referencia, no es cómo cualquier otro aparcamiento automatizado existente. Este aparcamiento, presenta unas particularidades constructivas que permiten utilizar como zonas de aparcamiento la práctica totalidad del espacio destinado a la circulación de los dispositivos de transporte, consiguiendo un aprovechamiento óptimo del espacio total del aparcamiento.

Breve análisis técnico: 
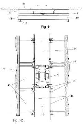
Parte de la solución técnica concreta aportada se puede ver en el esquema obtenido de la propia solicitud de patente PCT.

Tal y como se expresa en el documento: Adicionalmente comprende, entre la planta superior y la primera planta un transportador vertical de soportes de carga, en la planta un carro motorizado de transporte horizontal y unas garras escamoteables para la sujeción de soportes de carga a lo largo del pasillo; en las plantas unos marcos motorizados huecos para la sujeción de soportes de carga y en la planta inferior un dispositivo elevador desplazable horizontalmente, para la elevación y descenso de los soportes de carga.
De acuerdo con la invención este aparcamiento comprende unos soportes de carga que presentan: unas aberturas laterales para el apoyo estable de las ruedas del vehículo correspondiente, y dos hileras de ruedas, anterior y posterior, orientadas perpendicularmente al eje longitudinal del soporte de carga. El aparcamiento comprende unos alineadores abatibles y longitud regulable fijados lateralmente en la zona de entrega y recogida de vehículos para la alineación del vehículo, entregado por el usuario, sobre el soporte de carga correspondiente.

Estos alineadores permiten realizar el centrado o alineación del vehículo en el soporte de carga, evitando que el vehículo entregado por el usuario sobresalga del soporte de carga y pueda impactar durante su transporte por el interior del aparcamiento con cualquier otro elemento fijo o móvil. Por tanto estos alineadores resuelven uno de los problemas existentes en aquellos aparcamientos automatizados en los qué es el propio usuario el que realiza la entrega del vehículo sobre una plataforma o soporte de carga.

Para tener más detalles dirigirse al propio documento de la solicitud de patente.

Breve análisis jurídico: 
En el informe de búsqueda internacional que hace la oficina española de patentes y marcas, el examinador no ha encontrado ningún documento que anticipe la novedad o actividad inventiva del aparcamiento descrito, tal y como figura en las reivindicaciones, por lo que puede ser considerado de NOVEDAD MUNDIAL.
Para conocer los detalles de las reivindicaciones dirigirse al documento de la solicitud de patente.

Fecha de publicación PCT: 13 / 11 / 2008

Los comentarios están cerrados.

Inventos y Patentes: Búsqueda
Síguenos en Twitter! Síguenos en Facebook! Suscríbete al Feed RSS de Inventos
Inventos en directorios
BlogESfera Directorio de Blogs Hispanos - Agrega tu Blog
Busca patentes: