UNION DE PRENDAS DE VESTIR EN PAREJAS: “CLICK-CLIX”

El invento, con su patente, sirve para unir una prenda con su pareja correspondiente y, en general, un artículo textil con otro. Sin duda, un invento simple, pero a la vez muy interesante dentro de la propiedad industrial.

Inventos nuevos: Click-clix

Actualmente, no se conocen inventos que resuelvan el siguiente problema: Un problema cotidiano que sufrimos la mayoría al vestirnos es que algunas prendas, como los calcetines, guantes y otras que se usan a pares, deben estar correctamente emparejadas para evitar que, ante las prisas de la vida moderna o por despiste, terminemos poniéndonos un calcetín de cada color o tengamos que llevar un guante solo porque no se ha encontrado su pareja.


La empresa Industrias Sintéticas Catalanas S.L. ha solicitado una patente PCT, en la que se describe un nuevo invento basado en un par de elementos iguales, a su vez con dos piezas cada uno, que permiten la unión de 2 tejidos, al instalarse los dos componentes de forma separada en los dos tejidos a unir.

Entre los distintos inventos tecnológicos conocidos, esta patente destaca entre otros inventos por su sencillez y por la forma tan ingeniosa de unir prendas de vestir. En cuanto los pruebas quieres ponerlos en todas las prendas de ropa que sea necesario.

En Inventos Nuevos hemos probado los Click-clix, y hemos quedado muy contentos con su utilidad, por lo que recomendamos a todo el que le pueda interesar, que los compren en las tiendas más cercanas a su domicilio (ver: localización de tiendas). Sólo añadir que existen varios modelos según el grosor de la ropa que queráis unir. Más abajo puedes ver un vídeo de cómo funciona Click-clix.


Además, al registrarse en el concurso que han organizado en facebook podéis recibir el ClickClix en casa, y sólo por grabar un vídeo-idea podéis llevaros 1.500 € y un SmartBox de aventura en Almería para dos personas, y esto cada semana (y 500 € del jurado si la idea gusta). Más información: www.facebook.com/clickclix

Más información del producto en Click-clix.com.



Más información (más datos técnicos y análisis jurídico de la patente):

- Breve análisis técnico:

Tal y como se expresa en el documento de patente:


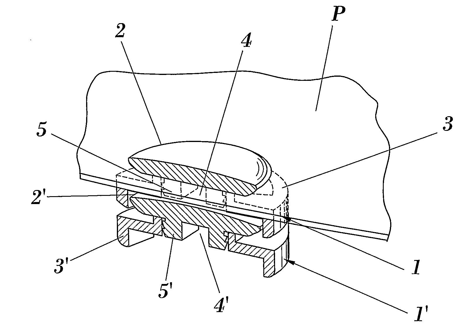
La invención aquí descrita se refiere a un dispositivo de unión de prendas, que está constituido por al menos dos componentes, cada uno de los cuales se incorpora a una de las prendas que forman un conjunto, tal como braga y sujetador o bien calzoncillos, camiseta y calcetines, o del tipo de las que van en parejas tales como medias, guantes y similares.
Los componentes del dispositivo de unión tienen exactamente la misma configuración, estando constituido cada uno por dos piezas encajables, quedando sujeto cada componente del dispositivo de unión a una prenda del conjunto, que queda aprisionada entre sus respectivas dos piezas.
Inventos nuevos: Click-clix

Para cada componente, una de las piezas queda por fuera del calcetín, guante o prenda con la que se utilice, por lo que puede aprovecharse para incorporar alguna marca o signo distintivo que ayude al usuario a identificar sus prendas, por ejemplo, poniendo en esa pieza sus iniciales; pero también, los fabricantes de estas prendas, las empresas de distribución o los comerciantes finales pueden aplicar su logo, firma o cualquier otra señal de publicidad.
Con esta finalidad, entre otras que se explican seguidamente, la pieza externa de cada componente del dispositivo que se describe presenta una cara lisa, mientras que la cara opuesta presenta un resalte continuo o formado por varios que exteriormente disponen de un dentado para realizar el encaje con la otra pieza,la interna a la prenda que enganchan.
Este dentado en los resaltes con los que se acopla la pieza externa a la otra pieza del mismo componente presenta varias configuraciones, con más o menos dientes, a fin de poder engancharse a prendas de diferentes grosores, desde unas medias de seda o unos calcetines ejecutivos a unos guantes de lana gorda.

Para tener más detalles dirigirse al propio documento de la solicitud de patente.

 

- Breve análisis jurídico:


En el informe de búsqueda internacional que hace la oficina española de patentes y marcas, no aparece ningún documento que reste novedad o actividad inventiva a las reivindicaciones que describen esta patente. Se trata, por tanto, de un invento NOVEDOSO A NIVEL MUNDIAL, y como tal, quedará archivado en la sección de los verdaderos nuevos inventos.

Para conocer los detalles de las reivindicaciones dirigirse al documento de la solicitud de patente.

3 comentarios para “UNION DE PRENDAS DE VESTIR EN PAREJAS: “CLICK-CLIX””

  • Anonymous:

    esta muy chevere y util para todas las amas de casa pues facilita el trabajo y evita perder el tiempo

  • Anonymous:

    ke padre

  • Anonymous:

    sta chidooo eee es una fregonada su invento q mas kieren

Inventos y Patentes: Búsqueda
Síguenos en Twitter! Síguenos en Facebook! Suscríbete al Feed RSS de Inventos
Inventos en directorios
BlogESfera Directorio de Blogs Hispanos - Agrega tu Blog
Busca patentes: